Ofen Glasscheibe Backofen, Küchenherd GAGGENAU EB385110(00)

Ofen Glasscheibe für Backofen, Küchenherd GAGGENAU EB385110(00)

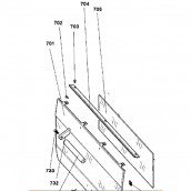
Außenscheibe (Referenz 212874)

Ref : 00212874

Marken : GAGGENAU
Außenscheibe (Referenz 212874) für Backofen, Küchenherd GAGGENAU
Kein Lagerbestand

  

214,90 € inkl. MwSt.
Hinzufügen

Zwischenscheibe

Ref : 00292909

Marken : GAGGENAU
Zwischenscheibe für Backofen, Küchenherd GAGGENAU
Kein Lagerbestand

  

88,20 € inkl. MwSt.
Hinzufügen

Zubehör und Gerätepflege

Codes APE/NAF éligibles
Mein Warenkorb

Kein Artikel

Ihre Bestellung aufgeben Continuer mes achats
Top